6.10 Policy Evaluation: Access Gateway Devices

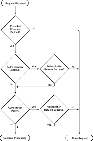
The following diagram depicts how Authorization policies fit into the protected resource processing for the proxy.

Figure 6-4 Policy Evaluation

Policies for the Access Gateway devices are evaluated by the policy engine in Java. A SOAP interface is used to transition from the proxy to Java and back. To see the SOAP messages, you need to set the logging level of the Application level to config. See Section 6.1, Turning on Logging for Policy Evaluation.

The SOAP messages are output to the catalina.out file. Sample SOAP messages are shown in the following scenarios:

6.10.1 Successful Policy Configuration Example

Note the Policy Enforcement Point (PEP) identifier of AGIdentityInjection in the request and the PolicyID in the response.

Configuration Request

toBufSeg: <?xml version="1.0" encoding="UTF-8"?>
<SOAP-ENV:Envelope xmlns:SOAP-ENV="http://schemas.xmlsoap.org/soap/
   envelope/">
<SOAP-ENV:Body>
   <NXPES ID="12">
      <Configure-ag PEPName="AGIdentityInjection">
         <PolicyEnforcementList
            RuleCombiningAlgorithm="DenyOverridesWithPriority"
            schemaVersion="1.32" 
            LastModified="1138389868885"
            LastModifiedBy="cn=admin,o=novell">
            <PolicyRef ElementRefType="ExternalWithIDRef"
                ExternalElementRef="PolicyID_xpemlPEP_AGIdentity
                    Injection_ii_test" 
                ExternalDocRef="ou=xpemlPEP,ou=mastercdn,
                    ou=ContentPublisherContainer,ou=Partition,
                    ou=PartitionsContainer,ou=VCDN_Root,ou=access
                    ManagerContainer,o=novell:romaContentCollection
                    XMLDoc"
                UserInterfaceID="PolicyID_xpemlPEP_AGIdentity
                    Injection_ii_test"/>
         </PolicyEnforcementList>
      </Configure-ag>
   </NXPES>
</SOAP-ENV:Body>
</SOAP-ENV:Envelope>

Configuration Response

LibertyProcessMsgCB:
<SOAP-ENV:Envelope xmlns:SOAP-ENV="http://schemas.xmlsoap.org/soap/envelope/">
<SOAP-ENV:Body>
   <NXPES Id="" Status="success">
      <ConfigureResponse PolicyId="755OK8P0-7543-518M-8L8M-N0P2LM2
                N3O27">
         <ContextDataElement Enum="2551"/>
      </ConfigureResponse>
   </NXPES>
</SOAP-ENV:Body>
</SOAP-ENV:Envelope>

6.10.2 No Policy Defined Configuration Example

The following is a sample of a configuration request where the policy code detects that no policies are in effect for the protected resource and Policy Enforcement Point (PEP).

Configuration Request

toBufSeg: <?xml version="1.0" encoding="UTF-8"?>
<SOAP-ENV:Envelope xmlns:SOAP-ENV="http://schemas.xmlsoap.org/soap/envelope/">
<SOAP-ENV:Body>
   <NXPES ID="11">
      <Configure-ag PEPName="AGAuthorization">
         <PolicyEnforcementList 
            RuleCombiningAlgorithm="DenyOverridesWithPriority"
            schemaVersion="1.32"
            LastModified="1138389868885"
            LastModifiedBy="cn=admin,o=novell">
           <PolicyRef ElementRefType="ExternalWithIDRef"
               ExternalElementRef="PolicyID_xpemlPEP_AGIdentity
                        Injection_ii_test"
               ExternalDocRef="ou=xpemlPEP,ou=mastercdn,ou=Content
                       PublisherContainer,ou=Partition,ou=Partitions
                       Container,ou=VCDN_Root,ou=accessManager
                       Container,o=novell:romaContentCollectionXMLDoc"
               UserInterfaceID="PolicyID_xpemlPEP_AGIdentityInjection_
                       ii_test"/>
         </PolicyEnforcementList>
      </Configure-ag>
   </NXPES>
</SOAP-ENV:Body>
</SOAP-ENV:Envelope>

Configuration Response

LibertyProcessMsgCB:
<SOAP-ENV:Envelope xmlns:SOAP-ENV="http://schemas.xmlsoap.org/soap/
      envelope/">
   <SOAP-ENV:Body>
      <NXPES Id="" Status="emptypolicyset"/>
   </SOAP-ENV:Body>
</SOAP-ENV:Envelope>

6.10.3 Deny Access Configuration/Evaluation Example

The following is a sample of a configuration request for a Deny policy and an evaluation request for this policy.

Configuration Request

toBufSeg: <?xml version="1.0" encoding="UTF-8"?>
<SOAP-ENV:Envelope xmlns:SOAP-ENV="http://schemas.xmlsoap.org/soap/
   envelope/">
<SOAP-ENV:Body>
   <NXPES ID="17">
      <Configure-ag PEPName="AGAuthorization">
         <PolicyEnforcementList 
            RuleCombiningAlgorithm="DenyOverridesWithPriority"
            schemaVersion="1.32" 
            LastModified="1138718667305"
            LastModifiedBy="cn=admin,o=novell">
         <PolicyRef 
            ElementRefType="ExternalWithIDRef"
            ExternalElementRef="PolicyID_xpemlPEP_AGIdentityInjection
                _custom_test"
            ExternalDocRef="ou=xpemlPEP,ou=mastercdn,ou=Content
               PublisherContainer,ou=Partition,ou=PartitionsContainer,
               ou=VCDN_Root,ou=accessManagerContainer,o=novell:roma
               ContentCollectionXMLDoc" 
            UserInterfaceID="PolicyID_xpemlPEP_AGIdentityInjection
               _custom_test"/>
         <PolicyRef 
            ElementRefType="ExternalWithIDRef"
            ExternalElementRef="PolicyID_xpemlPEP_AGAuthorization_
               deny-all" 
            ExternalDocRef="ou=xpemlPEP,ou=mastercdn,ou=Content
               PublisherContainer,ou=Partition,ou=PartitionsContainer,
               ou=VCDN_Root,ou=accessManagerContainer,o=novell:roma
               ContentCollectionXMLDoc" 
            UserInterfaceID="PolicyID_xpemlPEP_AGAuthorization
               _deny-all"/>
         </PolicyEnforcementList>
      </Configure-ag>
   </NXPES>
</SOAP-ENV:Body>
</SOAP-ENV:Envelope>

Configuration Response

LibertyProcessMsgCB: 
<SOAP-ENV:Envelope xmlns:SOAP-ENV="http://schemas.xmlsoap.org/soap/
    envelope/">
<SOAP-ENV:Body>
   <NXPES Id="" Status="success">
      <ConfigureResponse 
           PolicyId="55N3NL81-L29N-2619-K0M8-2L963M0MM701"/>
   </NXPES>
</SOAP-ENV:Body>
</SOAP-ENV:Envelope>

Evaluation Request

toBufSeg: <?xml version="1.0" encoding="UTF-8"?>
<SOAP-ENV:Envelope xmlns:SOAP-ENV="http://schemas.xmlsoap.org/soap/envelope/">
<SOAP-ENV:Body>
   <NXPES ID="18">
      <Evaluate PolicyId="55N3NL81-L29N-2619-K0M8-2L963M0MM701"
                Verbose="on"/>
   </NXPES>
</SOAP-ENV:Body>
</SOAP-ENV:Envelope>

Evaluation Response

LibertyProcessMsgCB: 
<SOAP-ENV:Envelope xmlns:SOAP-ENV="http://schemas.xmlsoap.org/soap/
      envelope/">
<SOAP-ENV:Body>
   <NXPES Id="" Status="success">
      <EvaluateResponse>
         <DoAction ActionName="Deny" ActionTTL="-1" Enum="2620">
            <Parameter Enum="10" Name="Message" Value=""/>
         </DoAction>
      </EvaluateResponse>
   </NXPES>
</SOAP-ENV:Body>
</SOAP-ENV:Envelope>